|
Český návod k obsluze Chladnička Amica UVKS 16149 bílá Pro zvětšení klikněte na obrázek
Obsah českého návodu Chladnička Amica UVKS 16149 bílá
- Zařazení produktu: Vestavné chladničky Amica
- Značka: Amica
- Popis a obsah balení
- Technické informace a základní nastavení
- Často kladené otázky – FAQ
- Jak vyřešit problém (nelze zapnout, nereaguje, píše chybu, co dělat když...)
- Autorizovaný servis Amica Vestavné chladničky
|
Návod k obsluze Chladnička Amica UVKS 16149 bílá obsahuje základní pokyny,
které je třeba respektovat. Před uvedením do provozu si pozorně přečtěte tento návod.
Dodržujte všechny bezpečnostní a výstražné pokyny a řiďte se uvedenými doporučeními.
Návod je nedílnou součástí výrobku Amica a v případě jeho prodeje nebo přemístění by měl být předán společně s výrobkem.
Dodržování tohoto návodu k použití je bezpodmínečným předpokladem pro ochranu
zdraví osob a pro uznání odpovědnosti výrobce za případné vady výrobku v průběhu záruční lhůty.
Stáhněte si oficiální Amica návod,
v němž naleznete pokyny k instalaci, použití, údržbě i servisu vašeho výrobku.
A nezapomeňte – nevhodným používáním výrobku Amica výrazně zkracujete jeho životnost!
|
Popis produktu - Celkový objem netto 135 l
- Mechanické ovládádní
- Osvětlení chladničky žárovka/pravá strana
- 2 +2 police z bezpečnostního skla
- 1 x stojánek na vajíčka
- 2 x příhrádka pro ovoce a zeleninu
- 2 x příhrádka ve dveřích
- Automatické odmrazování chladničky
- Ploché masivní panty umožňují :
- Montáž dvířek kuchyňské linky přímo na dveře chladničky
- Otevření dveří chladničky až do 120°
Technické parametry - Energetická třída A+ Anti-bacteria
- Spotřeba kWh / rok 117
- Spotřeba kWh / den 0,32
- Počet kompresorů 1
- Hlučnost 41 dB
- Klimatická třída N-ST (= +16°C / +38°C)
- Rozměry / v x š x h / 82,0 x 59,0 x 54,3 cm
- Délka kabelu 1,8 m
Video Dokumentace k tomuto produktu - AMIUVKS16149_PL.xls (Produktový list, 2.61 MB)
- UC 150.3, UVKS 16149 IOLS-1030_AMIUVKS16149_CZ,SK,PL,HU,EN,DE.pdf (Návod k použití CZ, 1.64 MB)
- UC 150.3, UVKS 16149 IOLS-1030_AMIUVKS16149_CZ,SK,PL,HU,EN,DE.pdf (Návod k použití ENG, 1.64 MB)
|
Návod k obsluze Chladnička Amica UVKS 16149 bíláStažení PDF návodu k obsluze pro Chladnička Amica UVKS 16149 bílá není v současné době možné. Soubor není připraven.
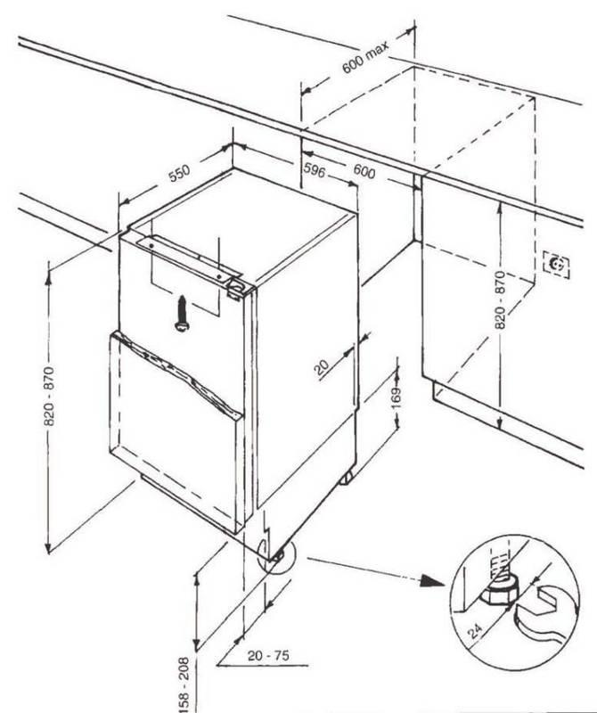
Technické parametry Chladnička Amica UVKS 16149 bílá| Záruka | 24 měsíců | | Konstrukce | | Typ | vestavba | | Konstrukce chladničky | jednodveřová | | Provedení chladničky | monoklimatická | Umístění mrazícího prostoru Podle umístění mrazícího prostoru rozdělujeme kombinované chladničky na: - dvoudveřové chladničky, kde je mrazící prostor umístěn v horní části. Tyto chladničky jsou vybaveny 1 kompresorem a teplota v mrazničce je regulována podle termostatu, který je umístěn v chladící části - kombinace, kde je mrazící prostor umístěn v dolní části. Ty mohou být vybaveny 1 nebo 2 kompresory. 2-kompresorová kombinace je standardně vybavena 2 termostaty a kompresory jsou na sobě funkčně nezávislé. 1-kompresorová kombinace může být vybavena jedním, ale také v dnešní době 2 termostaty a přepustným ventilem, kde lze nastavit pro každý prostor nezávislou teplotu. ">Umístění mrazícího prostoru | nemá mrazící prostor | | Umístění vestavby | pod pracovní desku | | Objemové vlastnosti | Objem celkem *objem celkem užitný ">Objem celkem | 135 l | Objem chladničky Označuje užitný vnitřní objem chladničky, který je využitelný pro chlazení potravin. Při výběru chladničky nezapomeňte správně odhadnout potřebný objem podle plánovaného využití chladničky a počtu lidí v domácnosti. ">Objem chladničky | 135 l | | Klimatické vlastnosti | Klimatická třída Klimatická třída určuje optimální teplotu prostředí, při které daný spotřebič pracuje. Pro optimální spotřebu zvolte vhodné umístění spotřebiče. Berte v úvahu, že teplota v místnosti má vliv jak na spotřebu elektrické energie, tak na optimální výkon výrobku. Používané zkratky mají následující význam: SN - okolní teplota od +10°C do +32°C N - okolní teplota od +16°C do +32°C ST - okolní teplota od +18°C do +38°C T - okolní teplota od +18°C do +43°C ">Klimatická třída | ST, T, N, SN | Nulová zóna (0-3°C) Do této speciální zásuvky vniká chladnější vzduch, který umožńuje udržovat teplotu v rozsahu blízkém 0°C. Je vhodná pro potraviny, které se lehce kazí, jako ryby, maso nebo uzeniny. Kvalita potravin se zde lépe udrží - Nulová zóna (0-3°C) | Ne | Hvězdičkové označení mrazícího prostoru Hvězdičky můžeme najít na dvířkách, výrobních štítcích nebo v katalozích chladících zařízení. Označují parametry prostoru s teplotou pod bodem mrazu. Jedna hvězdička značí nízkoteplotní prostor s teplotou -6°C nebo nižší, určený pro krátkodobé uchování zmrazených potravin, naopak čtyři hvězdičky označují nízkoteplotní prostor s teplotou -18°C nebo nižší, určený pro dlouhodobé skladování zmrazených potravin - Hvězdičkové označení mrazícího prostoru | - | Beznámrazová = nofrost Může jít o chladničku s ventilačním systémem, obvykle jde pak o systém ventilace v prostoru mrazničky, kdy se na potravinách ani v prostoru mrazničky netvoří námraza - Beznámrazová = nofrost | Ne | | Spotřeba | Energetická třída Zařazení výrobku do energetické třídy slouží k rychlé informaci o energetických vlastnostech výrobku. Označuje se písmeny A - G, přičemž A (A+/A++/A+++) značí nejmenší energetickou náročnost spotřebiče. Informace je zobrazena také graficky na energetickém štítku spotřebiče - Energetická třída | A+ | Spotřeba energie Označuje spotřebu při normalizovaném cyklu/provozu v plné zátěži spotřebiče. Skutečnou spotřebu pak ovlivní stupeň použití - Spotřeba energie | 0.32 kWh | | Spotřeba energie za rok | 117 kWh/rok | | Odhadované náklady chlazení za 1 rok | 421 Kč | | Odhadované náklady chlazení za 5 let | 2106 Kč | | Odhadované náklady chlazení za 10 let | 4212 Kč | | Funkce | Automatické odmrazování Tato funkce zamezuje tvorbě ledu na vnitřních stěnách chladničky. Námraza na stěnách totiž tepelně izoluje, snižuje chladící výkon a zvyšuje spotřebu energie. U mrazniček, které jsou vybaveny systémem "Nofrost", nedochází k námraze na stěnách, neboť teplý a tím pádem vlhký vzduch je odveden pomocí ventilátoru mimo prostor mrazničy, kde je odvhlčen (vysušen) a opět vrácen zpět do mrazničky. ">Automatické odmrazování | chladničky | Oddělená regulace Oddělené regulace umožňují nastavovat teplotu pro ledničku a pro mrazák zvlášť. ">Oddělená regulace | Ne | Superchlazení Pro chladící část lze aktivovat funkci super chlazení, která sníží teplotu v chladící části, a pokud není vypnuta manuálně, sama se vypne po max. 6 hodinách a teplota v chladničce se opět ustálí na zvolené nastavené hodnotě. Tuto funkci se doporučuje využít např. v případě vkládání většího množství potravin - Superchlazení | Ne | Supermrazení V mrazničce lze aktivovat funkci super mrazení, která snižuje teplotu v mrazícím prostoru. Funkce super mrazení by se měla použít vždy při vkládání většího množství potravin určených ke zmrazení - Supermrazení | Ne | | Dávkovač vody | Ne | Výrobník ledu Díky výrobníku můžete pohodlně dávkovat led přímo do sklenice k vašim nápojům. ">Výrobník ledu | Ne | Varovný signál Jde o akustický nebo vizuální signál upozorňující na zvýšenou teplotu - Varovný signál | Ne | Displej Displej Vás informuje o nastavení přístroje - např.: času, teploty, případně dalších informacích - a to číselně, symboly funkcí nebo textem. ">Displej | Ne | SMART Funkce SMART = komunikace přes chytrý telefon nebo tablet">SMART | Ne | Prázdninový režim Prázdninový režim umožňuje nastavit v ledničce teplotu, při které potraviny zůstanou čerstvé, ale zároveň nevzniká nepříjemný zápach. V prázdninovém režimu je spotřebič velmi úsporný - Prázdninový režim | Ne | | Distribuce | Distribuce Výrobek z oficiální distribuce je možné reklamovat v jakémkoliv autorizovaném servisu. Případná reklamace výrobku, který pochází z distribuce EU, nebo mimo EU, musí být vyřizována přímo u prodejce, kde byl výrobek zakoupen - Distribuce | oficiální ČR | | Další parametry | Změna otevírání dveří U spotřebiče je možné provést změnu otevírání dvířek z levého na pravé a naopak. U některých výrobců toto lze provést pouze za účasti placeného autorizovaného servisu, nebo je nutné si u servisu zakoupit panty. ">Změna otevírání dveří | Ano | Rozšířená záruka Prodloužená záruka je bezplatný servis a to i po skončení zákonné záruční lhůty. Její rozsah je přesně definován v záručních podmínkách. Záruku lze v případě potřeby uplatnit na základě klasického nebo speciálního záručního listu, který je přiložen v každém balení nebo po registraci výrobku na stránkách výrobce (záleží na konkrétní značce) - Rozšířená záruka | - | Antibakteriální úprava Po celou dobu životnosti chladničky zastavuje povlak s účinnou látkou na stěnách chladničky látkovou výměnu mikroorganizmů, jako jsou bakterie a plísně, a tím brání jejich růstu a rozmnožování. Případný přenos bakterií a plísní z vnitřních stěn na skladované potraviny není možný. ">Antibakteriální úprava | Ne | Držák na lahve Držák na láhve slouží k uložení nápojů mimo klasické police. Umožňuje to efektivnější využití prostoru chladničky - Držák na lahve | Ne | | Typ osvětlení | Žárovka | Hlučnost u chlazení Pro výběr spotřebiče je hladina hluku velmi důležitý parametr. Intenzita hluku se udává v decibelech (dB). Decibely se měří logaritmicky. Tedy - pokud zvuk zesiluje po deseti decibelech, každý stupeň je desetkrát silnější než předešlý. Čili 20 dB je desetkrát silnější zvuk než 10 dB. Ale 30 dB je už stokrát silnější zvuk než 10 dB. ">Hlučnost u chlazení | 41 dB | Ochrana proti otiskům prstů Ochrana proti otiskům prstů značí přítomnost oleofobní vrstvy či povrchu, na kterém neulpívají stopy po dotyku rukou. Ledničku tak kvůli nim nemusíte otírat - Ochrana proti otiskům prstů | Ne | | Barva chladničky | bílá | | Výška chladničky | 82 cm | | Šířka chladničky | 59.6 cm | | Hloubka chladničky | 55 cm | | Rozměry výrobku | | Šířka výrobku | 59.6 cm | | Výška výrobku | 82.0 cm | | Hloubka výrobku | 55.0 cm | | Hmotnost výrobku | 34.6 kg | | Rozměry balení | | Šířka balení | 64.0 cm | | Výška balení | 88.0 cm | | Hloubka balení | 60.0 cm | | Hmotnost balení | 39.5 kg |
Hodnocení60% uživatelů tento produkt doporučuje ostatním. Jak jste na tom Vy?

Tento produkt už hodnotilo 1 majitelů. Přidejte i Vaše hodnocení a zkušenosti s výrobkem.
Diskuze
Zeptejte se našich techniků, máte-li problémy s nastavením, nebo jste narazili v návodu na nejasnosti.
Využijte naši moderovanou diskuzi.
Diskuze je veřejná a slouží i ostatním návštěvníkům našich stránek, kteří se potýkají s podobnými problémy.
Diskuze je zatím prázdná - vložte první příspěvek
Vložit nový příspěvek / Dotaz / Komentář:
|
|
|
| Žádost o návod |
Nenašli jste návod, který hledáte? Dejte nám vědět a my se pokusíme chybějící návod doplnit:
Hledám návod / Žádost o návod
Vaše nejnovější žádosti o návod:
tablet doogee A9 pro... 5 in 1 styling comb. Multi functional styling hot air comb... Meteostanice TFA 35.1170.01... Steinborg 4Schlitz toaster SB-2080... Tristar pd-9052 Raclettegrill... Dobrý den, potřebovala bych návod k obsluze pro ultrazvukový zvlhčovač Avair Ultra3. Děkuji...
|
| Diskuze |
Poslední příspěvky v diskuzi:
Blikající přední světla ale auto nereaguje. Autor: Pavel RC auto Rastar Lamborghini Huracán STO Dobrý den, syn včera dostal k Vánocům RV auto Lamborghini Huracán STO.
Dal jsem do něj nové baterie a vše fungovalo...druhý den chtěl opět jezdit ale autu blikají přední světla a nereaguje na ovládání...nevíte prosím co by mohla být příčina?... Fiskrars Autor: Milan Sada kuchyňských nožů Fiskars Edge 5 Mila Renato , U nas jsme meli stejny problem a rada je jednoduchá: ZABER ????????
“Kroutive” pohyby a kovou část uplne vyndat a pak opět zandat obráceně aby stojan stal ... Gramofon Autor: neznámý Gramofon Lenco LBT-188 černý hnědý Dobrý den, proč nám nejde připojit gramofon a bedýnku přes bluetooth. Vůbec se nám nedaří spárovat.Děkuji ... Výměna hlav Autor: Soňa Zastřihovač vlasů ETA Austin 8345 90000 Dobrý den, partnerovi jsem koupila strojek k Vánocům a nejdou vyměnit a zacvaknout zpět ty hlavy - nástavce. Jak na to prosím? K čemu by pak takový dárek měl, když to nemůže ani vyzkoušet? ... Fiskars Edge Autor: Renáta Sada kuchyňských nožů Fiskars Edge 5 Nedá sa nám zložiť stojan na nože, chceme ho postaviť na linku ale nerezové nožičky ktoré sú na čiernom podstavci sa nedajú nastaviť a silou to nechceme pokaziť. Poprosím ako ich treba vysunúť aby bol. Toho stojan na nože.Dakujem za odpoveď ... |
|